2-3-7-1 電気の世界まとめ

以下の図のように内部を真空にした
管の中に蛍光版を入れ、
管の電極に高い電圧をかけた。
蛍光版にみられた陰極線は
(ア)と(イ)のどちらのほうに動きますか?

スクリーンショット-399

問題 1
以下の図のように内部を真空にした管の中に蛍光版を入れ、
管の電極に高い電圧をかけた。
蛍光版にみられた陰極線は(ア)と(イ)のどちらのほうに動きますか?

スクリーンショット (399)

正解  :イ

問題 2
金属に電圧をかけると自由に動く電子が移動しますが、
この電子は何極から何極に移動しますか?

正解  :-極から+極

問題 3
電流計のつなぎ方として正しい方を選びましょう。

正解  :測りたい電流の部分に直列につなぐ

問題 4
電流計と電圧計をつなぐとき、大きな電流(電圧)
がかかり指針が振りきれて壊れることを防ぐために
注意しなくてはいけないことがあります。
正しいものを選択肢から選びましょう。

正解  :値の大きい端子から小さい端子に変えていく

問題 5
電池1つの状態で2つの豆電球を
直列つなぎと並列つなぎの両方を試してみました。
豆電球がより明るいのはどちらのつなぎ方をしたときですか?

正解  :並列つなぎ

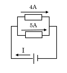
問題 6
以下のような並列回路がある。
電流Iの値はいくらであるか?

スクリーンショット (373)

正解  :9

問題 7
以下のように並列回路の抵抗がR₁、R₂と定められているとき、
全体の抵抗の合計はいくらになりますか?
A
B
をA/Bと表します。

スクリーンショット (370)

正解  :1/R =1/R₁ +1/R₂

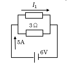
問題 8
以下のような並列回路があります。
電流I₁はいくらになりますか?

スクリーンショット (379)

正解  :3

問題 9
以下のような直列回路があります。
電圧Vはいくらになりますか?

スクリーンショット (381)

正解  :6

問題 10
100V-500Wと表示されているドライヤーがある。
100Vの電源につないだときに
このドライヤーを3分使用するとどのくらいの熱量が発生しますか?

正解  :90000

問題 11
ビーカーに20℃の水を200gいれ、ビーカーに電熱線をさして
水の温度を25℃にしました。何秒で水は25℃になりましたか?
ただしこのときの電圧は7V、電流は10Aであった。

正解  :60

問題 12
以下のように電流を流しました。
磁界はどちらの向きに発生しますか?

スクリーンショット (388)

正解  :ア

問題 13
コイルでつくった棒磁石の磁界を強くする方法として
正しいものをすべて選びましょう。

正解  :コイルの中に鉄心を入れる,電流を大きくする,コイルの巻き数を多くする

問題 14
電磁誘導の説明文を(電流、電圧、磁界)の言葉を利用して完成させましょう。
「コイルの内部の(1)が変化すると、その磁界の変化を防ぐようにコイルに(2)が生じ、
コイルに(3)が流れること」

正解  :磁界,電圧,電流

問題 15
以下の図のように磁界の中で導線に電流を流すと
導線は磁界から力を受ける。
力はどちらの向きにはたらきますか?

fre3

正解  :イ

問題 16
以下の図のように磁界の中で導線に電流を流すと
力が生じ、導線は奥へ動いた。
アはN極、S極どちらでしょうか?

fre5

正解  :S極