2-3-3-1 電流・電圧・抵抗
問題 2以下のように並列回路の抵抗がR₁、R₂と定められているとき、
※
以下のように並列回路の抵抗がR₁、R₂と定められているとき、
全体の抵抗の合計はいくらになりますか?
※ABをA/Bと表します。
B

正解 :1/R =1/R₁ +1/R₂
問題 3
電圧と電流と抵抗の関係はどのようになっていますか?
正解 :電圧=電流×抵抗
問題 4抵抗の単位をなんといいますか?
抵抗の単位をなんといいますか?
カタカナで答えましょう。
正解 :オーム
問題 5物質には電気の通しやすい導体と、
物質には電気の通しやすい導体と、
電気をほとんど通さない不導体(絶縁体)
があります。導体のものを複数選びましょう。
正解 :鉄,銅
問題 6
この回路の全体の抵抗値はいくらになりますか?

正解 :3
問題 7以下のような並列回路があります。
以下のような並列回路があります。
電流I₁はいくらになりますか?

正解 :3
問題 8以下のような直列回路があります。
以下のような直列回路があります。
電圧Vはいくらになりますか?

正解 :6
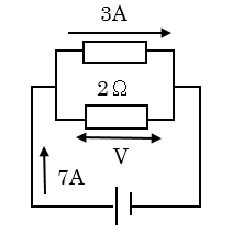
問題 9以下のような並列回路があります。
以下のような並列回路があります。
電圧Vはいくらになりますか?

正解 :8
問題 10ある抵抗に27Vの電圧を加えると
ある抵抗に27Vの電圧を加えると
9Aの電流が流れた。
抵抗の大きさを求めましょう。
正解 :3
問題 11抵抗7Ωの電熱線に49Vの電圧を加えた。
抵抗7Ωの電熱線に49Vの電圧を加えた。
抵抗に流れた電流の大きさを求めましょう。
正解 :7
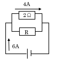
問題 12以下のような並列回路があります。
以下のような並列回路があります。
抵抗Rはいくらになりますか?

正解 :4
